Amazon Web Services ブログ
【開催報告】アップデート紹介とちょっぴり DiveDeep する AWS の時間 第十七回 (04/28)
みなさんこんにちは!
アマゾンウェブサービスジャパン合同会社 ソリューションアーキテクトの前川です。
2022年4月28日に「第十七回 アップデート紹介とちょっぴり DiveDeep する AWS の時間」をオンラインで開催しました。本イベントは、AWS の数あるアップデートの中から「すぐ使える、運用に役立つ、あったらいいなと思ってた、おもしろい、重要」なものをピックアップし、ちょっぴり DiveDeep してカジュアルな雰囲気でお伝えするイベントです。
今回は、「春のセキュリティ編」というサブタイトルでセキュリティに特化した特別編でした。本イベントでは、マルチアカウント環境をご活用されている 株式会社はてな様 に事例紹介いただきました。
過去の開催報告はこちら
実施内容
季節が変化し、組織の顔ぶれも変化するこの頃ですがセキュリティ対策は万全でしょうか?ぜひこの機会にセキュリティの不安を解消しフレッシュな気持ちで新年度も頑張っていきましょう!当日は セキュリティという共通の話題ということもあり、200 名近くのお客様にご参加いただきました。ご参加いただいた皆様、誠にありがとうございました!!
当日参加したメンバー(一部)
アジェンダ
今回は、AWS メンバーセッション 3 件、お客様事例紹介セッション 1 件の、全部で 4 セッション 合計 2 時間でお届けしました
- ももこの今月のお勧め 5 分間アップデート (5 分) スピーカー:ソリューション アーキテクト 浅井 ももこ (Momoko Asai)
今月の AWS のサービスアップデートを 5 分でご紹介。たくさんのアップデートの中から今回は 4 つをご紹介しました。 - 新学期セキュリティスタートダッシュ Security Hub 編(30分)スピーカー:ソリューション アーキテクト 苅野 秀和 (Hidekazu Karino)
セキュリティを強化しないといけないとは思っているものの、何から始めていいかわからないと感じていませんか?
AWS Security Hub はお客様のセキュリティ状況を一元表示できるサービスです。このセッションでは AWS Security Hub ってなんなの?という話からリソースのセキュリティ状況を Slack で通知するデモまでをお見せします。 - AWS Control Tower でマルチアカウント管理しませんか(20分)スピーカー:ソリューション アーキテクト 桂井 俊朗 (Toshio Katsurai)
AWS アカウントが増えてくると管理が大変になりますよね。AWS Control Tower ならガバナンスの効いた環境構築が楽になります。このセッションではサービスの概要とアップデートをデモを入れつつご説明します。 - 【 お客様事例セッション 】マルチアカウント環境に現代のベストプラクティスを取り入れていく話(30分)スピーカー:株式会社はてな サービス・システム開発本部 システムプラットフォーム部 SRE 渡辺 道和 (Michikazu Watanabe) 様
これまで AWS Organizations の組織による管理や人力ルールなどは取り入れてきましたが、完全な統制がとれているとは言えない状況でした。AWS Control Tower を始めとしたプラクティスを取り入れ、より安全な環境を整備しています。このセッションでは構築している AWS 組織の設計時に得られた知見について話します。 - ぎりぎり 20 分で話しきる Amazon GuardDuty による脅威検知(20分)スピーカー:ソリューション アーキテクト 小森谷 健太 (Kenta Komoriya)
20 分間で Amazon GuardDuty の基礎から最新情報までご紹介します。そもそも、Amazon GuardDuty ってなに?というところから、AWS Organizations との連携、最近発表された Kubernetes protection まで、デモを交えながらご説明します。
当日の様子
当日の内容を抜粋してご紹介します。
新学期セキュリティスタートダッシュ Security Hub 編
AWS Security Hub を使用して検知したリスク情報を Slack に送信している様子です。何かあった時にすぐに知ることができるのは安心感ありますよね!
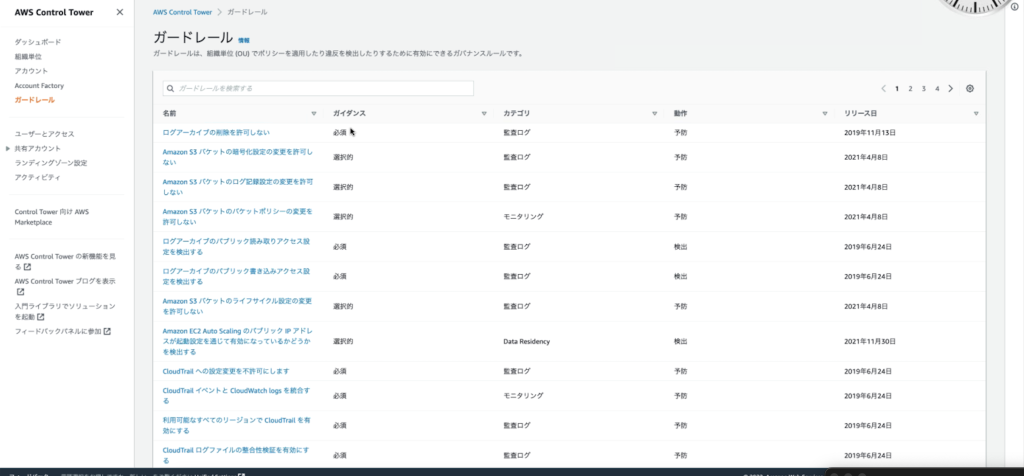
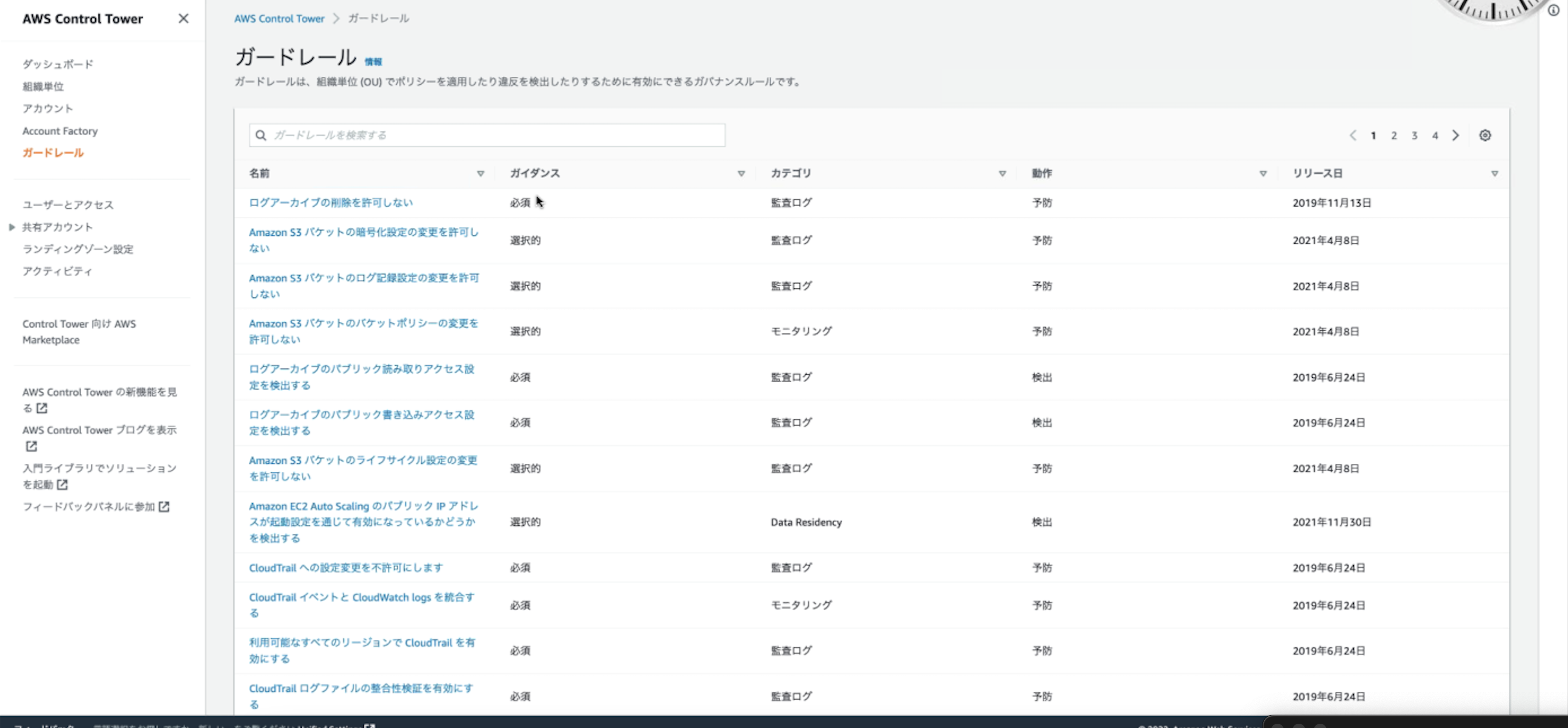
AWS Control Tower でマルチアカウント管理しませんか
AWS Control Tower を使ってガードレールを表示している様子です。予防ルールと検出ルールがあるのがわかりますね!
【 お客様事例セッション 】マルチアカウント環境に現代のベストプラクティスを取り入れていく話
株式会社はてな様では、10年以上運用されてきたアカウントの再設計を実施するにあたり、どのようなことを検討しどのような構成にされたのかをご紹介されました。マルチアカウント管理には AWS Control Tower 、ガードレールでカバーできない部分は AWS のセキュリティ系サービスの組み合わせやガイドラインの整備などで対応されていました。既存のアカウント構成を見直すにあたってとても参考になりますね!
ぎりぎり 20 分で話しきる Amazon GuardDuty による脅威検知
Amazon GuardDuty を有効化する画面を表示している様子です。ワンクリックで有効化していてお手軽さが伝わってきますね!
今回はすぐに始められるセキュリティ対策についてご紹介してきましたが、これを機にもっとセキュリティを高めたいという方は AWS のベストプラクティス集である AWS Well-Archited Framework のセキュリティの柱をぜひご確認ください!
実施後のアンケートでは、「 今後採用できそうな技術であったため、とても参考になった。チームメンバーにも共有できればと思う。」、「大変勉強になりました。話を聞いて試してみたいと感じました。」といった嬉しいお声も多数頂くことが出来ました!
今後も月に一度のペースで様々なコンテンツの提供を予定しておりますので、是非ご参加お待ちしております!
各種資料・動画のダウンロード
本イベントの動画と各セッションの資料は以下からダウンロードできます。
- イベント動画
- ももこの今月のお勧め 5 分間アップデート
- 新学期セキュリティスタートダッシュ Security Hub 編
- AWS Control Tower でマルチアカウント管理しませんか
- 【 お客様事例セッション 】マルチアカウント環境に現代のベストプラクティスを取り入れていく話
- ぎりぎり 20 分で話しきる Amazon GuardDuty による脅威検知
次回予告
次回もお客様事例セッションがございます!ぜひ、ふるってご参加ください。
- 第十八回 「アップデート紹介とちょっぴり Dive Deep する AWS の時間」 クラウド移行とモダナイゼーション編
- 申込ページ
- 開催日時:2022 年 5月 19日(木)16:00 – 18:00 オンライン開催
- アジェンダ
- AWS への移行ステータスを一元管理。AWS Migration Hub のご紹介
- スピーカー:AWS ソリューション アーキテクト 深見 修平 (Shuhei Fukami)
- オンプレサーバーをサクッと AWS へリホストする話
- スピーカー:AWS ソリューション アーキテクト 太田 賢志郎 (Kenshiro Ota)
- お客様事例セッション【 キャリタスUC SQL Server から Amazon Aurora PostgreSQL への移行 】
- スピーカー:株式会社ディスコ システム開発部 課長代理 青木 茂 (Shigeru Aoki) 様
- リファクタリングプロセスをお手伝い。ISV Refactor Space の紹介とデモ
- スピーカー:AWS ソリューション アーキテクト 前田 進吾 (Shingo Maeda)
- AWS への移行ステータスを一元管理。AWS Migration Hub のご紹介




